| নং | শিরোনাম | সেবার ধাপ | কার্যকলাপ |
|---|---|---|---|
| | |||
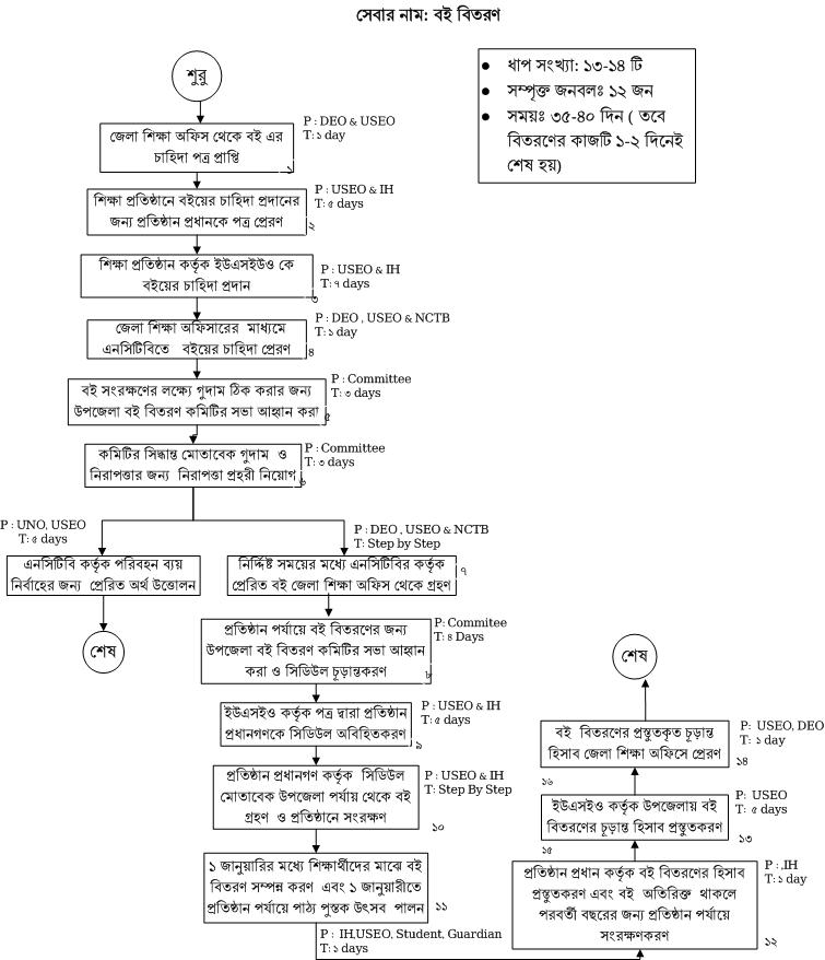
| ১ | বই বিতরণ | দেখুন | |
| ২ | প্রাথমিক বিদ্যালয়ে ভবন নির্মাণ | দেখুন | |
| ৩ | প্রাথমিক বিদ্যালয়ের ক্ষুদ্র মেরামত ও সংস্কার | দেখুন | |
| ৪ | শিক্ষকদের জিপিএফ লোন মঞ্জুর | দেখুন | |
| ৫ | শিক্ষক বদলি | দেখুন | |
| ৬ | শিক্ষকের বেতন প্রদান | দেখুন | |
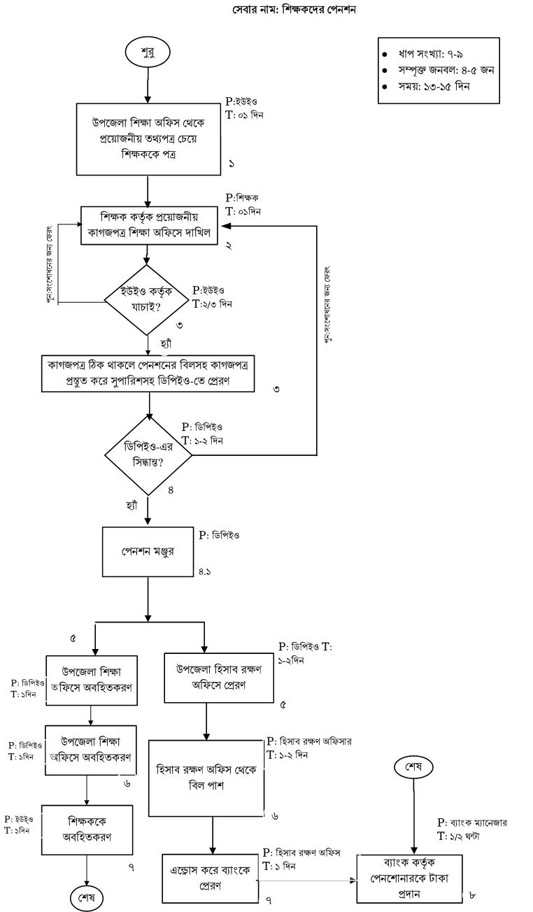
| ৭ | শিক্ষকদের পেনশন | দেখুন | |
| ৮ | প্রাথমিক শিক্ষার জন্য উপবৃত্তি প্রদান | দেখুন | |
| ৯ | শিক্ষার গুণগত মান সংরক্ষণ ও উন্নয়ন সংক্রান্ত কার্যক্রম | দেখুন |